Rewolucja LED-owa powoli wkracza do mieszkań
Dziś, a więc prawie dziesięć lat po tej decyzji, przeważającym źródłem światła w oświetleniu mieszkań są nadal żarówki. Stan ten to następstwo pozytywnych cech żarówek jako źródeł światła, najbardziej zbliżonych do światła naturalnego i jednocześnie niechęć do ograniczania swobody wyboru, tym bardziej że preferowany substytut, może jest nowoczesny i energooszczędny, ale przede wszystkim kosztowny. Takie myślenie indywidualnych użytkowników światła spowodowało znaczne opóźnienie procesu zmiany użytkowanych źródeł światła w obrębie własnych mieszkań, w stosunku do oświetlenia publicznego.
Zatem dzisiejsze oświetlenie, czas rewolucji LED-owej, bardzo powoli zaczyna wkraczać do mieszkań. Niewielkie tempo tego procesu to również efekt pierwszych niepowodzeń i kiepskich doświadczeń użytkowników. Stymulatorem tempa akceptacji LED-owych źródeł światła w mieszkaniach raczej nie są obniżone rachunki za energię elektryczną a bardziej pewne cechy tych źródeł i wynikające z nich nieznane dotychczas możliwości rozwiązania oświetlenia mieszkań.
Autorzy artykułu uważają, że najcenniejszą praktyczną konsekwencją pojawienia się LED-ów jest ich rozwiązanie w postaci liniowo rozmieszczonych chipów na: paskach, taśmach i innych elementach liniowych. W takim wydaniu jest to nowatorskie źródło światła, którego nie powinno się rozpatrywać wyłącznie w kategoriach cech fotometrycznych czy kolorymetrycznych, energooszczędności czy trwałości. Paski LED realizują liniową plamę świetlną, o ile obiekt oświetlenia znajduje się w niewielkiej odległości i jest równoległy do kierunku linii LED. Jednocześnie paski LED wypełniają światłem jedną półprzestrzeń i to jest ich podstawowy przewagą w porównaniu ze świetlówkami liniowymi. Te cechy fotometryczne uzupełnione miniaturyzacją stały się najważniejszym stymulatorem w prowadzenia LED-ów do oświetlenia mieszkań. Paski LED umożliwiają realizację idei oświetlenia szczelinowego (wnękowego) [1,3], oświetlenia pośredniego, akcentowego, dekoracyjnego. Dzięki paskom LED znacznie prostsze stało się konstruowanie świetlików, membran świecących. Pasek LED dzięki swym niewielkim rozmiarom w przekroju, znakomicie nadaje się do oświetlania schodów, ich poszczególnych stopni i poręczy, co do tej pory było trudną do zrealizowania ideą.

Fot. 2. Najwcześniej pomysł oświetlenia szczelinowego znalazł swą aplikacje w oświetleniu kabiny pasażerskiej samolotu. Dziś oświetlenie szczelinowe pośrednie jest z powodzeniem stosowane w oświetleniu przestrzeni mieszkalnych.
LED-y w oświetleniu wnętrz mieszkalnych bezpośrednio zastępują klasyczne żarówki. Rozwiązania te zyskały nazwy ledówek, lecz ich zamiana z żarówki jest często i słusznie kwestionowana z powodu tego, że przestrzeń wypromieniowania strumienia świetlnego ledówek jest sporo mniejsza niż żarówek. W konsekwencji może to zmieniać wygląd abażuru, klosza itp.
Chętnie wykorzystywanym rozwiązaniem w oświetleniu mieszkań są oczka LED-owe – jako bezpośrednie zastępstwo tzw. oczek halogenowych (fot. 3). Jest jednak związane z tym pewne zastrzeżenie. Oczka halogenowa, poza głównym stożkiem wypromieniowania strumienia świetlnego, emitowały strumień rozproszony, powodując rozświetlenie podkładowa (na wszystkich powierzchniach) w całej przestrzeni wnętrza. Oczka LED emisję strumienia ograniczają w zasadzie wyłącznie do głównego stożka wypromieniowania światła. Zatem – czego nie obejmuje wiązka światła – pozostaje nieoświetlone. Użytkownicy często skarżą się na niedoświetlenie pomieszczenia, w którym zainstalowano oczka LED.
Energooszczędność, ale czy tylko?
W odniesieniu do LED-ów stosowanych w mieszkaniach bardzo często eksponowana jest jako podstawkowy, a nawet jedyny argument ich wprowadzania – cecha energooszczędności. Jest to prawda, choć ten argument sam w sobie, jak pokazuje praktyka i statystyki dotyczące struktury wykorzystywanych źródeł światła [2], nie jest zachęcającą cechą. Neutralizuje tę zaletę stosunkowa wysoki koszt zakupu ledówek. Wydaje się, że inne cechy tego źródła światła mają większą siłę oddziaływania na użytkowników’. Niewątpliwie jedną z nich jest możliwość nowatorskich rozwiązań, innej aranżacji oświetlenia wnętrz mieszkalnych, a ta cecha z kolei jest następstwem miniaturyzacji wielu rodzajów źródeł LED – a głównie: pasków; linii, punktów’ świetlnych itp. Wiele atrakcyjnych rozwiązań oświetlenia, znanych wcześniej tylko z aplikacji tradycyjnych źródeł światła w obrębie wnętrz użyteczności publicznej, dużych przestrzeni zamkniętych, wysokich i rozległych pomieszczeń, dzięki miniaturyzacji LED-ów; aplikacji w postaci pasków LED, linii LED itp. – mogło znaleźć swoje urzeczywistnienie w obrębie wnętrz mieszkalnych. Warto tu wspomnieć ideę oświetlenia pośredniego-szczelinowego [1,3] (nazywanego czasami – wnękowym, gzymsowym). To rozwiązanie oświetlenia znane jest od wielu lat. Wcześniej stosowano je, wykorzystując żarówki ułożone w szereg. Po upowszechnieniu źródeł fluorescencyjnych oświetlenie gzymsowe realizowano z wykorzystaniem świetlówek liniowych. Jednak zawsze problemem była kwestia wymiarów źródła, co powodowało, że albo gzyms musiał być znacznie oddalony od sufitu albo też sufit podwieszony znacznie zmniejszał wymiar wysokości pomieszczenia. Jeśli dotyczyło to: wnętrz publicznych, holów, auli, sal koncertowych itp. nie było z tego tytułu większych problemów. Przeniesienie tego rodzaju oświetlenia do niewysokich wnętrz mieszkalnych było niemożliwe. Tu z pomocą przyszła era LED-ów, a w zasadzie wykorzystanie ich cechy miniaturowości. Dziś gzyms ścienny w okół pomieszczenia z paskiem LED może być oddalony od sufitu o 10 cm, aby zrealizować skuteczne pod względem ilościowym i atrakcyjne oświetlenie szczelinowa. Podobnie jest z sufitem podwieszanym, z świetlikami wykorzystującymi membrany rozpraszające.
Nowa aranżacja oświetlenia wnętrz mieszkalnych nie znalazłaby prawdopodobnie zainteresowania, gdyby nie inna cecha diod elektroluminescencyjnych – wysoka trwałość. Wspomniane nowatorskie aranżacje oświetlenia są rozwiązaniami o dość kłopotliwym serwisowaniu. Dostęp do źródeł jest utrudniony, przez co kłopotliwa staje się wymiana i konserwacja. W tym wypadku z pomocą przychodzi inna cenna właściwość LED-ów – wysoka trwałość, która umożliwia bezobsługową eksploatację tego rodzaju oświetlenia przez długi czas. Przez jak długi? Teoretycznie przez ok. 50 tys. godzin lub nawet dłużej. W praktyce oświetlenia mieszkań może to oznaczać nawet kilkadziesiąt lat. Zatem wymiana źródeł światła, o ile istniejące rozwiązanie nie znudzi się domownikom, może mieć miejsce wtedy, gdy pojawi się nowa, z pewnością lepsza, generacja źródeł światła.
Nie sposób również do stymulatorów nowoczesnego oświetlenia mieszkań nie zaliczyć ważnej cechy LED-ów – możliwości elastycznego sterowania. Chodzi głównie o poziom strumienia świetlnego wyemitowanego ze źródeł. To sterowanie, w odniesieniu do LED-ów, jest bardzo efektywne i w praktyce nie pogarsza skuteczności świetlnej tych źródeł światła. Dzięki tej właściwości LED-ów, oświetlenie mieszkania, w którym są zastosowane, może być jeszcze pełniej podporządkowane indywidualnym potrzebom mieszkańców’.
Nowatorskie trendy oświetlenia mieszkań
Obserwując dziś dziedzinę oświetlenia mieszkań można wyszczególnić następujące nowatorskie trendy aplikacyjne:
- oświetlenie szczelinowe (wnękowe), pośrednie,
 - oświetlenie z użyciem „oczek LED-owych”,
 - oświetlenie wielkopowierzchniowe z wykorzystaniem membran rozpraszających,
 - zaawansowane dekorowanie światłem i oświetlenie akcentowe,
 - oświetlenie dedykowane – kącikowe.
 
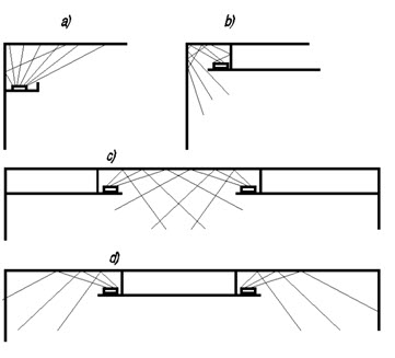
Praktyczne stosowanie oświetlenia szczelinowego pokazuje, że może być wiele pomysłów’ ich rozwiązania. Przede wszystkim spotyka się realizacje, w których światło jest skierowane na sufit (rys. 1a) albo na ściany (rys. 1b). Zatem można mówić o oświetleniu szczelinowym sufitowym i ściennym. W oświetleniu szczelinowym sufitowym, będącym następstwem umieszczenia wnęk (korytek) ze źródłami światła w obrębie wszystkich ścian, w pobliżu sufitu, światło jest kierowane od krawędzi sufitu w kierunku środka pomieszczenia. Takie rozwiązanie daje możliwości, zarówno skutecznego pod względem ilościowym pośredniego oświetlenia wnętrza, jak również tworzy ciekawy i estetyczny [3] akcent świetlny, obrysowujący kontury sufitu.

Rys. 1. Różne rozwiązania oświetlenia szczelinowego, pośredniego
Można też sytuację odwrócić i korytka z liniami LED umieścić na skraju sufitu, a światło kierować na ściany (rys. 1b). Wówczas charakterystyczny ciekawy zanik światła pojawi się w górnej części ścian, znacząc obrys sufitu i akcentując wysokość pomieszczenia. W ramach oświetlenia szczelinowego – sufitowego obszar wypromieniowania światła można ograniczyć do pewnego obrysu (rys. 1c), do wnętrza pewnego obszaru zamkniętego (prostokąt, okrąg, elipsa itp.). Wówczas wnęka (profil) z liniami LED musi być umieszczona na suficie i powinna przedstawiać obrys charakterystycznego kształtu, a światło wypromieniowane do środka tego obrysu powinno dość równomiernie wypełniać jego wnętrze. Można też oświetlenie szczelinowe pośrednie zrealizować za pomocą częściowego sufitu podwieszanego o zaplanowanym obrysie (rys. 1d), zza krawędzi którego światło niczym aureola wydobywa się, pokazując w kontraście negatywowym charakterystyczny kontur podwieszenia. Plama światła odbitego, na około konturu, staje się źródłem oświetlenia, a ciekawy kontur podwieszonego sufitu – na tle jasnej regularnej plamy świetlnej na naturalnym suficie – dekoracją wnętrza.
Oczka LED-owe zaliczyć należy również do nowatorskich rozwiązań oświetlenia, choć ich halogenowe wydanie znane było już wcześniej. Instalacja oczka LED-owego wymaga wbudowania tej oprawy w sufit. Można to też osiągnąć np. przez zastosowanie lokalnego sufitu podwieszanego, który może być ograniczony do wybranej strefy pomieszczenia. Wówczas oczka LED-owe spełniają funkcję oświetlenia kącikowego. Bardziej zaawansowane technicznie rozwiązania tych popularnych źródeł pozwalają na niewielką regulację kierunku wypromieniowania wiązki świetlnej, a przez to można bardziej precyzyjnie dopasować kierunek oświetlenia do obiektu.

Fot. 3. Oczka LED – jako następca oczek halogenowych. Kierunkowe oświetlenie daje dobre możliwości zrealizowania oświetlenia kącikowego. W tym przypadku podświetlenie wnęki z lustrem w łazience.
Bezpośrednie natężenie oświetlenia E pod świecącym kołem o luminancji L na powierzchni roboczej (2 m) i na podłodze (3 m):
Średnica koła [m] | 
Luminacja [cd/m2] | 
E [lx] w odległości 2 m | 
E [lx] w odległości 3 m | 
| 1 | 
 100 200  | 
18 36 90  | 
8 16 40  | 
| 2 | 
 100 200  | 
62 124 310  | 
27 55 136  | 
| 
 3  | 
 100 
 200  | 
113 226 565  | 
50 100 249  | 
| 
 5  | 
 100 200  | 
191 382 955  | 
84 168 420  | 
Wielkopowierzchniowe membrany rozpraszające (fot. 4) są bardzo ciekawą propozycją do wykorzystania we wnętrzach mieszkalnych. Duża, równomiernie jasna powierzchnia świecąca realizować może dowolną funkcję oświetleniową, dowolny poziom oświetlenia (tabela). Ograniczona luminancja powierzchni świecącej, jako analogia do oświetlenia naturalnego, jest bardzo przekonującym argumentem za stosowaniem tego typu rozwiązań nawet w mieszkaniach. Pomysł świetlików, kasetonów świetlnych i membran rozpraszających dopiero wraz z nastaniem ery źródeł elektroluminescencyjnych (LED-ów) znalazł odpowiednie warunki urzeczywistnienia. Wynika to przede wszystkim z możliwości elastycznego sterowania oraz uzyskiwania zadowalającej jednorodnej jasności (równomierności luminancji) rozpraszacza przy ograniczonej wysokości bębna membrany.

Fot. 4. Elementem nowatorskiego oświetlenie wnętrz stały się wielkopowierzchniowe membrany rozpraszające
W następstwie szerokiego wykorzystywania LED-ów w oświetleniu mieszkań, pojawiła się wyraźna tendencja dekorowania światłem pomieszczeń. Wykorzystuje się w tym celu zarówno oświetlenie barwne jak również inne ciekawe pomysły akcentów świetlnych wkomponowanych w architekturę pomieszczenia. Spotyka się wiele pomysłów’ na tą świetlną dekorację, a wśród nich: świetlne wnęki ścienne, ekspozycję struktury ściany (np. ceglanej lub kamiennej), rytmiczne akcenty świetlne na płaszczyźnie ściany, oświetlenie poręczowe, akcentowe oświetlenie szczelinowe spod blatu szafek, komód itp. (fot. 6).

Fot. 6. Wraz z wkroczeniem elektroluminescencyjnych źródeł światła do mieszkań, odżyła uśpiona tendencja dekorowania pomieszczeń, szczególnie światłem barwnym
Architektura świetlna sufitu
Pojęcie architektury świetlnej sufitu pomieszczenia jest stosunkowo nowym określeniem sugerującym, iż powierzchnia sufitu, dotychczas niedoceniana jako obiekt oświetlenia, w następstwie nowatorskich tendencji w oświetleniu mieszkań, a szczególnie wykorzystywania LED-ów, zyskuje swoisty wygląd, który należy brać pod uwagę – a nawet należy go planować. Wykorzystuje się przy tym różne efekty będące rezultatem charakterystycznego zaniku światła, w związku z oświetleniem szczelinowym a także planowe rozmieszczanie punktowych oczek LED-owych, układając je w okręgi, linie świetlne itp. Sytuacja ta wymaga od projektanta rozszerzenia obszaru kontroli swej kreatywnej działalności. Trzeba oprócz kontroli cech ilościowych (ergonomicznych) oświetlenia obiektów i płaszczyzn będących wyposażeniem sprzętowym mieszkania, zwracać uwagę na efekty estetyczne, w tym również na estetykę oświetlenia sufitu połączoną z obrazem świecących punktów’ świetlnych, linii i powierzchni świecących. Przykład takiego obrazu pokazano na fot. 7:

Fot. 7. Architektura świetlna sufitu jest efektem stosowania wielu różnych systemów świetlnych w oświetleniu pomieszczenia, które tworzą charakterystyczny obraz tej części pomieszczenia
LITERATURA
[1] Krupiński R., Żagań W. 2013. Oświetlenie pośrednie wnękowe. Przegląd Elektrotechniczny (88) 204-208.
[2] Maciejewski M., Żagań W. 2013. Badanie struktury wykorzystywanych źródeł światła w oświetleniu mieszkań. Wiadomości Elektrotechniczne, (10) 3-7.
[3] Rysik M., Żagań W. 2015. Ładne światło – nie wszystko złoto, co się świeci. Wiadomości Elektrotechniczne, (10) 3-5.